Testing a Ladder Hinge Against Patent Claims

Copying the Competition

A step ladder against a wall with red lines and a 36-degree angle marked, indicating the ladder's angle of incline.

Background

Beacon Forensic was retained in a patent matter involving a joint lock used in multi position ladders commonly sold in major retail stores. These are among the most widely used ladders on the market and are likely familiar to many consumers. The central question was whether the hinge design incorporated the elements claimed in a utility patent and whether it infringed the asserted claims.

A precision tool being used to make a cut or adjustment on a metallic component, possibly part of a mechanical or electronic device.

Approach

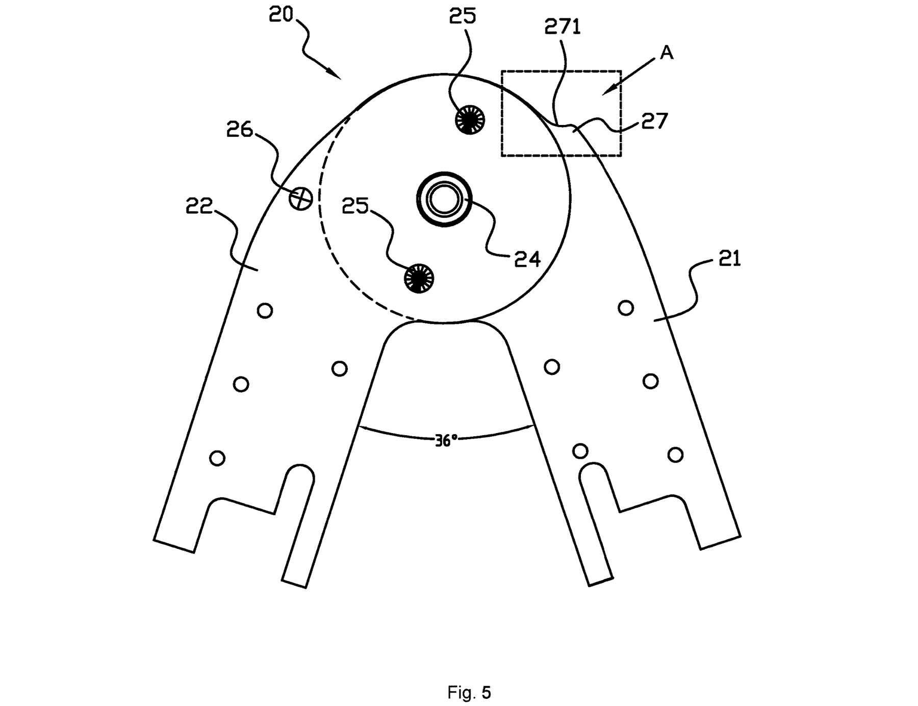
Beacon Forensic engineers conducted a detailed investigation that included review of the asserted utility patent, claim chart materials, and a related design patent. The subject ladder was inspected and documented through photographs, measurements, and laboratory notes. The hinge geometry, locking mechanism, step shaped slot, and stop stub were examined in detail. Testing was also performed to evaluate how the hinge functioned when the lock pins were disengaged and whether the stop stub and slot interacted in a manner consistent with the patent claims. Beacon Forensic also researched comparable ladders offered for sale under related brand names.

Close-up of a rugged metallic tool or object with yellow paint chips, showing signs of wear and aging.

Findings & Outcome

The investigation showed that the inspected hinge contained the elements recited in the asserted independent claim and associated dependent claims, including the inner plate with a step shaped slot, outer plates with a stop stub, and a locking arrangement that maintained the ladder in multiple positions. Testing demonstrated contact between the stop stub and the slot in a manner consistent with the claimed configuration when the hinge locks were disengaged.

Based on inspection, measurement, and testing, Beacon Forensic concluded that the hinge used in the subject ladder read on the asserted claims of the utility patent. The analysis also found that the hinge differed from the design shown in the cited design patent, and market research showed that similar ladders using comparable hinge designs were being sold at retail under multiple brands.

Key Takeaway: By combining detailed patent analysis with hands on inspection, precision measurement, and functional testing, Beacon Forensic engineers demonstrated that the ladder hinge design practiced the asserted patent claims.

The Beacon Difference

In industrial facilities handling hazardous materials, Beacon Forensic applies scientific rigor and practical engineering experience to determine how and why accidents occur.

Our investigations focus on mechanical systems and equipment use in hazardous environments, helping clients identify causes, clarify responsibility, and improve safety to prevent recurrence.